In den letzten Jahren sind zu allen wichtigen Frisch- und Festbetonprüfungen sowie zu Prüfungen der Ausgangsstoffe neue Normen erschienen. Darüber hinaus machten neue Betonarten und Anforderungen die Aufnahme weiterer Prüfverfahren erforderlich. Diese dynamische Entwicklung hat zur Herausgabe der nunmehr sechsten überarbeiteten und erweiterten Auflage des Handbuchs der Betonprüfung geführt. Dabei haben die Autoren den bewährten, strukturierten Aufbau jeder Verfahrensbeschreibung beibehalten. Zusätzlich werden die notwendigen Prüfberichtsdaten genannt.Im Umfeld so durchgreifender Änderungen für den Betonprüfer, ist der Wert dieser anschaulichen Darstellung der jetzt insgesamt 141 Prüfverfahren mit Bildern, Checklisten und Hinweisen auf mögliche Fehlerquellen noch wertvoller geworden. Jedes Prüfverfahren erscheint nach einheitlichem System in einem jeweils abgeschlossenen Kapitel. Insgesamt liegt dem Anwender ein umfassendes und praxisgerechtes Handbuch vor, das alle deutschen und maßgeblichen internationalen Prüfverfahren enthält.Nach der Erweiterung des Autorenteams seit der 5. Auflage durch Dr. Ulrich Wöhnl ist nun Professor Dr. Wolfgang Breit, Hochschullehrer an der technischen Universität Kaiserslautern, Obmann des Ausschusses "Prüfverfahren für Beton" im DIN und Mitglied des europäischen Normenausschusses Betonprüfung, hinzugekommen.

eBook - ePub
Handbuch der Betonprüfung
Prüfanleitungen und Beispiele
- 688 pages
- English
- ePUB (mobile friendly)
- Available on iOS & Android
eBook - ePub
Handbuch der Betonprüfung
Prüfanleitungen und Beispiele
About this book
Trusted by 375,005 students
Access to over 1.5 million titles for a fair monthly price.
Study more efficiently using our study tools.
Information
13 Probenahmeverfahren für Gesteinskörnungen
Sammelproben und Einengung auf Laboratoriumsproben
A Wesen des Verfahrens
Zur Gewährleistung, dass die zu prüfende Gesteinskörnung einer großen Gesteinsmenge entspricht, werden z.B. mehrere Einzelproben entnommen und zu einer Sammelprobe vereinigt, die die Eigenschaften der Grundgesamtheit (Los) widerspiegelt. Aus der Sammelprobe werden durch Probeteilung Laboratoriumsproben gewonnen.
B Prüfvorschrift
DIN EN 932-1:1996-11 Prüfverfahren für allgemeine Eigenschaften von Gesteinskörnungen – Teil 1: Probenahmeverfahren
C Geräte und Hilfsmittel
Eimer
Probenahmeblech
Teilkreuz
Transportbehälter
Handelsübliche Waage, Wiegebereich 100 kg, Ablesegenauigkeit 50 g
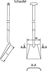
Geräte für die Probenahme (Bild 13.1)
Schaufel
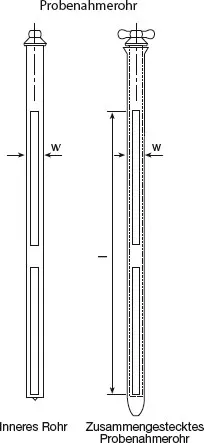
Probenahmerohr (w ≥ 3 D, mind. 10 mm; l = 1000 mm bis 2000 mm)
Probenahmekasten
Probenahmespeer
Probenahmerahmen
Riffelteiler oder Teilkreuz
D Durchführung
Definitionen
Los
Menge, die zur selben Zeit unter einheitlichen Bedingungen hergestellt wurde
Einzelprobe
Menge an Material, die durch einmalige Entnahme aus dem Los erhalten wird
Sammelprobe
Vereinigte Menge von Einzelproben








Bild 13.1: Geräte zur Probenahme
Repräsentative Probe
Sammelprobe nach Probenahmeplan, die es wahrscheinlich macht, dass die Eigenschaften der Probe denen des Loses entsprechen
Teilprobe
Aus Probeneinengung erhalten
Laboratoriumsprobe
Eingeengte Probe aus einer Sammelprobe, die für die Untersuchung in einem Labor bestimmt ist
Verjüngen
Einengen der Probe durch Teilen und Verwerfen
1 Mindestmasse der Sammelprobe für heterogene Gemische nach Gleichung 13.1 bestimmen oder nach Tabelle festlegen:
| | m = 6 · ![]() | (13.1) |
| Hierin bedeuten: | |
| m | Masse der Probe in kg |
| D | Größtkorn in mm |
| ρb | Schüttdichte in kg/dm³ (entspricht Mg/m³) bestimmt nach DIN EN 1097-3 (Kapitel 32) |
Probenahme von ruhenden Transportbändern
Vorbemerkung: Probenahme erst nach einem Vorlauf vornehmen, damit sichergestellt ist, dass mögliche Unregelmäßigkeiten vermieden werden.
2 Probenahmerahmen (Bild 13.2) zum Abtrennen in das Materialband eindrücken oder mit Schaufel bzw. Blech einen Abschnitt abtrennen. Mindestmasse entweder nach Gleichung 13.1 bestimmen oder als Länge der Einzelprobe die dreifache Breite des Transportbands wählen.
3 Vorgang so oft wiederholen, bis die für die Sammelprobe benötigte Menge erhalten wird.
4 Probe auf eine Laboratoriumsprobe einengen (D.18 bis D.36) und einschließlich Feinanteile in Behälter füllen.
Probenahme am Bandabwurf, Rutschenauslauf oder Siloauslauf
Vorbemerkung: Probenahme erst nach einem Vorlauf vornehmen, damit sichergestellt i...
Table of contents
- Deckblatt
- Titelseite
- Impressum
- Vorwort
- Inhaltsverzeichnis
- Bildnachweis
- Zement
- Gesteinskörnungen
- Frischbeton
- Festbeton
- Bauteilprüfungen
- Einpressmörtel
- Zugabewasser
- Betonangreifende Wässer
- Betonangreifende Böden
- Die Autoren
- Prüfnormen / Richtlinien / Vorschriften
Frequently asked questions
Yes, you can cancel anytime from the Subscription tab in your account settings on the Perlego website. Your subscription will stay active until the end of your current billing period. Learn how to cancel your subscription
No, books cannot be downloaded as external files, such as PDFs, for use outside of Perlego. However, you can download books within the Perlego app for offline reading on mobile or tablet. Learn how to download books offline
Perlego offers two plans: Essential and Complete
- Essential is ideal for learners and professionals who enjoy exploring a wide range of subjects. Access the Essential Library with 800,000+ trusted titles and best-sellers across business, personal growth, and the humanities. Includes unlimited reading time and Standard Read Aloud voice.
- Complete: Perfect for advanced learners and researchers needing full, unrestricted access. Unlock 1.5M+ books across hundreds of subjects, including academic and specialized titles. The Complete Plan also includes advanced features like Premium Read Aloud and Research Assistant.
We are an online textbook subscription service, where you can get access to an entire online library for less than the price of a single book per month. With over 1.5 million books across 990+ topics, we’ve got you covered! Learn about our mission
Look out for the read-aloud symbol on your next book to see if you can listen to it. The read-aloud tool reads text aloud for you, highlighting the text as it is being read. You can pause it, speed it up and slow it down. Learn more about Read Aloud
Yes! You can use the Perlego app on both iOS and Android devices to read anytime, anywhere — even offline. Perfect for commutes or when you’re on the go.
Please note we cannot support devices running on iOS 13 and Android 7 or earlier. Learn more about using the app
Please note we cannot support devices running on iOS 13 and Android 7 or earlier. Learn more about using the app
Yes, you can access Handbuch der Betonprüfung by Uwe P. Zimmer, Ulrich Wöhnl, Wolfgang Breit, Hans-Wilhem Iken, Roman R. Lackner in PDF and/or ePUB format, as well as other popular books in Technology & Engineering & Industrial Engineering. We have over 1.5 million books available in our catalogue for you to explore.
