Introduction to Voltammetric Analysis
eBook - ePub

Introduction to Voltammetric Analysis

Theory and Practice

  1. 264 pages
  2. English
  3. ePUB (mobile friendly)
  4. Available on iOS & Android
eBook - ePub

Introduction to Voltammetric Analysis

Theory and Practice

About this book

Voltammetric methods are among the most sensitive and versatile available to the analytical chemist. They can identify and quantify substances from simple metal ions, through to complex organic molecules. The concentration range spans 9 orders of magnitude and, in many cases, trace level analyses of surface waters and body fluids can be performed with little or no pre-treatment of the sample is required.

In this text the basic concepts and principles are presented in an easy-to-read manner. Practical aspects are discussed and an overview of the electrochemistry of the elements and of organic functional groups is interspersed with 27 tested applications described in detail.

The techniques covered expand its application out into other disciplines apart from chemistry, such as botany, zoology and soil science.

Trusted byĀ 375,005 students

Access to over 1.5 million titles for a fair monthly price.

Study more efficiently using our study tools.

Information

Year
2001
Print ISBN
9780643065932
eBook ISBN
9780643102644

1

Introduction

1.1 DEFINITION

The term voltammetry is applied to that group of electroanalytical techniques in which the current (ampere) that flows through an electrochemical cell is measured as the potential (volt) applied to the electrodes in the cell is varied. The term, first used by Kolthoff in 1940 [1], is derived from the units of the electrical parameters measured—volt-am (pere)-metry. It is important at this point to distinguish between the terms voltammetry spelt with ā€˜mm’ and voltametry spelt with only one ā€˜m’. The term voltametry has been used to describe the technique generally known as ā€˜controlled current potentiometric titration’.
The essential difference between voltammetric and other potentiodynamic techniques, such as constant current coulometry, is that in voltammetry an electrode with a small surface area (< 10–5 m2) is used to monitor the current produced by the species in solution reacting at this electrode in response to the potential applied to it. Because the electrode used in voltammetry is so small, the amount of material reacting at the electrode can be ignored. This is in contrast to the case in coulometry where large area electrodes are used so that all of a species in the cell may be oxidised or reduced.
When mercury, flowing through a fine capillary so that it emerges as droplets, is used as the small electrode in a voltammetric cell the technique has the special name polarography. This name is derived from the fact that the electrode can be polarised. An electrode is said to be polarised when no direct current flows across its interface with the solution even though there is a potential difference across this interface. In his definitive work published in 1922 [2] on ā€˜Electrolysis with a dropping mercury electrode’, Jaroslav Heyrovsky referred to this phenomenon and called the recorded current-potential polarisation curves polarograms.
The recommendation of IUPAC [3] is that voltammetry is the general term to be used when current potential relationships are being investigated and that only when a flowing conducting liquid electrode (such as a dropping mercury electrode) is used as the working electrode should the term polarography be used. Polarography, the original technique, is thus a special case of voltammetry.

1.2 THE CELL

The electrochemical cell used in voltammetry is a multi-phase system in which electrical energy is used to bring about a chemical change (electrolysis) in species in the cell. In its simplest form, such a cell consists of two electronic conductors called electrodes immersed in an electrolytic conductor (ionic solution) containing the substance of analytical interest called the analyte. This ionic solution completes the electrical circuit. It is the processes which occur at the solution-electrode interface involving the analyte and the factors that influence these interfacial processes that are exploited in electro-analytical chemistry. The application of a voltage or a current from an external source to the electrodes produces an electrical response from the analyte in the cell solution. The nature and magnitude of this response may be used to both identify and quantify the analyte.
The small electrode used to monitor the response of the analyte is known as the working electrode (WE). Even though only a negligible amount of material is involved in the processes occurring at the working electrode, its small size ensures that a high current density develops at its surface. Consequently, it is the processes which occur at this small electrode that control the current flow through the cell.
The small current-controlling WE may be constructed from a wide variety of conducting materials. The more common materials used include various forms of graphite and metals such as mercury, gold or platinum. These electrodes may be stationary, rotating or, in the case of mercury, flowing with respect to the cell solution. They are usually named after the material from which they are made and in some cases after other physical characteristics. For example, the dropping mercury electrode or DME; the mercury thin film electrode or MTFE; the hanging mercury drop electrode or HMDE; the glassy carbon electrode or GCE; the carbon paste electrode or CPE; the rotating platinum electrode or RPE; a chemically modified electrode or CME; and so on.
The second electrode in the simple cell, called a counter electrode (CE), serves two purposes. It is used to control the potential applied to the working electrode and to complete the circuit for carrying the current generated by the processes occurring at the WE. In the former role it must act as a reference electrode (RE). The ideal reference electrode must be a completely depolarisable electrode, i.e. it must be able to maintain a constant potential at its interface with the cell solution irrespective of any current that may flow across this interface. This can only be achieved if the reaction that controls the potential of this electrode is very fast and if there are no significant changes in the ion concentration profile in the vicinity of the interface—conditions that cannot be realised in practice unless the current that flows through the cell is extremely small and the composition of the cell solution does not change significantly from sample to sample. In the simple two-electrode cell the counter electrode must be much larger in area than the working electrode so that (i) the current density at its surface is so small that the electrode processes occurring at the CE do not affect the current signal generated at the WE in any significant way, and (ii) the flow of current through the cell as a result of the processes at the small WE has a minimal effect on the concentration profile at the CE surface so that its function as a reference electrode is not seriously impaired.
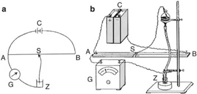
A simple arrangement for measuring the current that flows through a two-electrode cell as the voltage applied to the electrodes is varied is shown in Figure 1.1. Accurate measurements are only possible with this basic set-up when no voltage drop occurs in the cell and, as indicated above, the counter electrode is maintained in a constant-composition solution. The solution in the cell will have a resistance to the flow of current and as a consequence there will be a potential drop across the cell due to the current flow generated by the electrode process. Although this may be minimised by adding a high concentration of a supporting electrolyte (SE) to the cell solution it can never be eliminated. The voltage applied to the cell, Vapp, then is given by:
Image
where
EWE and Eref are the potential drops across the working electrode-solution interface and reference electrode-solution interface, respectively, when the reactions at both electrodes are written as reductions.
icell is the current flowing through the cell. When the analyte is reduced electrons flow from the WE to the analyte and the current is called a cathodic current. When the analyte is oxidised the electron flow is reversed and the current is called an anodic current.
R is the cell resistance in ohms.
Image
Figure 1.1 Two-electrode arrangement for measuring current-potential curves.
Since the absolute values of single electrode potentials cannot be measured, it is normal to refer all working electrode potentials to that of the reference electrode so that equation 1.1a becomes:
Image
where
E’WE is the potential of the working electrode relative to the reference electrode being used.
It is only under zero current conditions when no reaction is occurring at the working electrode that the voltage applied to the two-electrode cell is identical with the sum of the potential drops at the electrode interfaces. Since in a real measurement situation a current flows through the cell and V differs from the sum of the two electrode potentials by icell R—the so-called ā€˜iR drop’—it is preferable to refer to the plot of icell against Vapp obtained from a two-electrode cell as a current-voltage curve. A very simple experimental arrangement for the two-electrode system is to use the mercury collecting in the bottom of the cell as the counter electrode (i.e. a mercury pool electrode or MPE). However, as the cell solution composition varies so will the potential of the MPE. For more precise control of EWE it is necessary to use as a reference electrode an electrode that can maintain a more constant potential than the mercury pool electrode.
Image
Figure 1.2 (a) Schematic arrangement for electrolysis with the dropping mercury electrode, (b) A simple practical apparatus [4].
In modern measuring systems the current carrying role of the counter electrode is separated from its potential control role by introducing a third electrode, the auxiliary electrode, AE, to the cell to complete the current carrying circuit. The area of this auxiliary electrode must be large compared to that of the working electrode for the reason (i) given above. The addition of the auxiliary electrode means that the counter electrode now is used only to control the potential of the working electrode and so becomes a true reference electrode. Since no current flows through the poten...

Table of contents

  1. Cover
  2. Title
  3. Copyright
  4. Foreword
  5. Contents
  6. Preface
  7. 1 Introduction
  8. 2 Techniques
  9. 3 Stripping analysis
  10. 4 Practical aspects
  11. 5 Flow-through techniques
  12. 6 Applications: inorganic species
  13. 7 Applications: organic species
  14. 8 Appendices
  15. Index

Frequently asked questions

Yes, you can cancel anytime from the Subscription tab in your account settings on the Perlego website. Your subscription will stay active until the end of your current billing period. Learn how to cancel your subscription
No, books cannot be downloaded as external files, such as PDFs, for use outside of Perlego. However, you can download books within the Perlego app for offline reading on mobile or tablet. Learn how to download books offline
Perlego offers two plans: Essential and Complete
  • Essential is ideal for learners and professionals who enjoy exploring a wide range of subjects. Access the Essential Library with 800,000+ trusted titles and best-sellers across business, personal growth, and the humanities. Includes unlimited reading time and Standard Read Aloud voice.
  • Complete: Perfect for advanced learners and researchers needing full, unrestricted access. Unlock 1.5M+ books across hundreds of subjects, including academic and specialized titles. The Complete Plan also includes advanced features like Premium Read Aloud and Research Assistant.
Both plans are available with monthly, semester, or annual billing cycles.
We are an online textbook subscription service, where you can get access to an entire online library for less than the price of a single book per month. With over 1.5 million books across 990+ topics, we’ve got you covered! Learn about our mission
Look out for the read-aloud symbol on your next book to see if you can listen to it. The read-aloud tool reads text aloud for you, highlighting the text as it is being read. You can pause it, speed it up and slow it down. Learn more about Read Aloud
Yes! You can use the Perlego app on both iOS and Android devices to read anytime, anywhere — even offline. Perfect for commutes or when you’re on the go.
Please note we cannot support devices running on iOS 13 and Android 7 or earlier. Learn more about using the app
Yes, you can access Introduction to Voltammetric Analysis by Francis G. Thomas,Gunter Henze,Francis G Thomas in PDF and/or ePUB format, as well as other popular books in Physical Sciences & Chemistry. We have over 1.5 million books available in our catalogue for you to explore.