
- 310 pages
- English
- ePUB (mobile friendly)
- Available on iOS & Android
eBook - ePub
Sound Intensity
About this book
The advent of instruments capable of measuring sound intensity, which represents the flow of energy in sound fields, has revolutionised audio-frequency acoustical metrology. Since publication of the first edition, two International Standards for the use of sound intensity for sound source power determination, and one International Standard for sound intensity instrumentation, have also been published. A number of International Standards have also been developed.
Trusted by 375,005 students
Access to over 1 million titles for a fair monthly price.
Study more efficiently using our study tools.
Information
Subtopic
AkustiktechnikCHAPTER ONE
Introduction
The physical phenomenon called âsoundâ may be defined as a time-varying disturbance of the density of a fluid medium, which is associated with very small vibrational movements of the fluid particles. In this book, the frequency range of interest is assumed to be the so-called âaudio-frequencyâ range, which extends from about 20 Hz to 20 kHz. Audio-frequency vibrations can also occur in solid materials, such as steel or wood; these are always accompanied by sound in any fluid with which the solids are in contact. Such solid-borne vibrations may propagate in many different waveforms, unlike sound in fluids. This phenomenon is termed âstructure-borne soundâ, derived from the more concise German word KĂśrperschall.
Sound in a fluid depends for its existence upon two properties of the medium: (i) the generation of pressure in response to a change in the volume available to a fixed mass of fluid, i.e. change of density; (ii) the possession of inertia, i.e. that property of matter which resists attempts to change its momentum. Both the forces generated by volumetric strain of fluid elements, and the accelerations of those elements, are related to their displacements from positions of equilibrium. The resulting interplay produces the phenomenon of wave motion, whereby disturbances are propagated throughout the fluid, often to very large distances. The nature of sound, and the behaviour of sound waves, are the subjects of Chapter 3, in which emphasis is placed on the kinematic features of sound fields, which are illustrated by various simple examples.
Sound waves in fluids involve local changes (generally small) in the pressure, density and temperature of the media, together with motion of the fluid elements. Fluid elements in motion have speed, and therefore possess kinetic energy. In regions where the density increases above its equilibrium value, the pressure also increases; consequently, energy is stored in these regions, just as it is in a compressed spring. This form of energy is termed potential energy. Textbooks often introduce the subject of sound in terms of simple harmonic motion, which may lead students to believe, like Isaac Newton, that such motion is natural to fluid particles disturbed from equilibrium. In fact, fluid particles will oscillate continuously only if waves are continuously generated by a source, or if, once generated, they repeatedly retraverse a fluid region via reflections from surrounding boundaries. It is not intuitively obvious that in either case energy will be transported from one location to another; it seems much more likely that it will just be transferred to and fro between adjacent fluid elements. Consider, therefore, a transient sound created in the open air, for example by a handclap. A thin shell of disturbance will spread out all around the source, travelling at the speed of sound. Within this disturbed region the fluid particles will be temporarily displaced from their equilibrium positions, and the pressure, density and temperature will temporarily vary from their equilibrium values. Once the disturbance has passed, everything is just as it was beforeâthe fluid particles are once more at rest in their original positions and do not continue to oscillate.
It is quite clear from this qualitative description of wave propagation that the potential and kinetic energies created by the action of the source on the air immediately surrounding it are transported with the disturbance; they cannot disappear, except through the action of fluid friction (viscosity), and other dissipative processes, which are known to have rather small effect at audio frequencies. Sound Intensity is a measure of the rate of transport of the sum of these energies through a fluid: it is more explicitly termed Sound Power Flux Density. Chapter 4, which deals with the energetics of sound fields, shows that sound intensity is a vector quantity equal to the product of the sound pressure and the associated fluid particle velocity vector.
What, may be asked, is the importance of being able to measure sound intensity, rather than sound pressure, which we have been able to measure with increasing accuracy every since Wente devised the condenser microphone over 60 years ago? The short answer is that, by means of the application of principles explained in Chapters 5 and 9, the user of intensity measurement equipment may quantify the sound power generated by anyone of a number of source systems operating simultaneously within a region of fluid, thereby greatly assisting the efficient and precise targeting and application of noise control measures.
The first patent for a device for the measurement of sound energy flux was granted to Harry Olson of the RCA company in America in 1932 (incidentally, also an annus mirabilis in particle physics). The first commercial sound intensity measurement systems were put on the market in the early 1980s. Why the 50-year delay? Therein hangs a long tale, the details of which will be related in Chapter 2. It may be basically attributed to the technical difficulty of devising a suitably stable, linear, wide frequency band transducer for the accurate conversion of fluid particle velocity into an analogue electrical signal, together with the problem of producing audio-frequency electrical filter sets having virtually identical phase responses. As explained in Chapter 6, current instruments are of three basic types: signals from the transducers are passed either through digital or analogue filters, followed by sum and difference circuits and integrators, or processed using discrete Fourier transform algorithms to produce the cross-spectral estimates to which sound intensity is proportional. Currently available probes comprise either two nominally identical pressure-sensitive transducers, or one pressure transducer in combination with an ultrasonic particle velocity transducer.
All measurements are subject to error. Errors associated with the specific form of transducer system used to provide the signals from which intensity estimates are obtained are explained and quantified in Chapter 5, and those generated by the measurement system are treated in Chapters 6 and 7. The latter also presents a comprehensive analysis of random errors associated with the signal processing procedures employed. The nature of sound fields near sources and the sound field indicators used to classify sound fields are described in Chapter 8.
The important advantages which accrue from the availability of accurate sound intensity measurement systems are consequent upon the fact that sound intensity is a vector quantity, having both magnitude and direction, whereas pressure is a scalar quantity, possessing only magnitude. As explained in Chapter 9, this extra dimension allows the contribution of one steady sound source operating among many to be quantified under normal operating conditions in the operational environment: the need for special-purpose test facilities is largely obviated, a development which confers clear and substantial economic benefits. The major application of sound intensity measurement is to the determination of the sound power output from individual sources in the presence of others. The advantage of in situ measurement of sound power extends beyond the obviation of the need to construct or hire expensive, special-purpose test facilities. Many sources of practical importance are either too big, too heavy, too dangerous, or too dependent upon ancillary equipment to be transported to a remote test site. In addition, the in situ application of approximate methods based on the measurement of sound pressure requires microphones to be located at a distance from the source comparable with its maximum dimension, which, in many cases, puts the microphone into regions where noise from interfering nearby sources is comparable with, or exceeds, that of the source under investigation: by contrast, valid sound intensity measurements may be made at any distance from a source. A particular advantage of sound intensity measurement to manufacturers is that production test bays may serve to double as sound power check facilities. Sound intensity measurement may additionally be used to investigate the distribution of sound power radiation from any source, including vibrating partitions which separate adjacent spaces, so that the various regions may be placed in rank order; this has been found to be of particular utility in the case of automotive engine noise, and in detecting weak regions in partitions.
Other applications of sound intensity measurement which are at present (1994) less well developed than sound power determination are the in situ evaluation of the acoustic impedance and sound absorption properties of materials, and the in situ determination, under operational conditions, of the sound power generated by fans, together with the performance of associated in-duct attenuators. The latter application forms the subject of Chapter 11.
The advent of practical, reliable, sound intensity measurement may be seen as one of the most important developments in acoustic technology since the introduction of digital signal processing systems. It is of great value to equipment designer, manufacturer, supplier and user, and, in particular, to the specialist acoustical engineer concerned with the control and reduction of noise.
CHAPTER TWO
A brief history of the
development of sound
intensity measurement
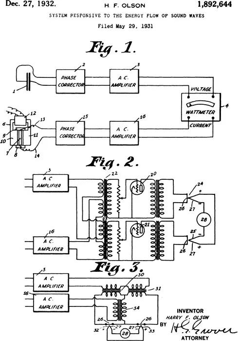
In the nineteenth century, Rayleigh devised a suspended disc system of which the deflection is proportional to the square of particle speed. This may be said to indicate intensity, but, of course, it only does so in simple travelling wave fields: it is not, however, a practical measuring device, because it is also disturbed by air movement. The recorded history of attempts to measure the flow of sound energy in complex sound fields goes back over 60 years, to 1931 when Harry Olson of the Radio Corporation of America submitted an application for a patent for a âSystem responsive to the energy flow of sound wavesâ. The patent was granted in the following year (Figs 2.1 and 2.2). As explained by Wolff and Massa,1 the âField Wattmeterâ system was designed to process the signals from a pressure microphone and a particle velocity microphone using the âquarter squareâ multiplication principle by which the product of the two signals was obtained from the difference between the squares of the sum and difference of the signals. In an article published many years later,2 Olson describes a suitable microphone (Fig. 2.3), and a development of the basic wattmeter to incorporate band pass filters (Fig. 2.4). Curiously, the literature appears to contain no evidence that this device achieved significant practical utilisation.
During the following 20 years, sporadic attempts were made to develop measurement systems with reasonable frequency ranges, but serious problems were encountered with performance instability, and excessive sensitivity to ambient conditions, such as wind, humidity and temperature. In the early 1940s, Enns and Firestone presented one of the very few theoretical analyses of sound energy flux in source fields to appear before 1960 (Fig. 2.5).3 At the same time, they, together with Clapp, used a combination of a ribbon velocity microphone and two crystal pressure microphones to investigate sound intensity fields in a standing wave tube and in a reverberant room.4 The system performed well in the former situation, but poorly in the latter (which, with hindsight, does not surprise us today). In introducing a two-pressure-microphone technique for the purpose of in situ determination of the acoustic impedance of material samples in 1943, Bolt and Petrauskas5 paved the way

Fig. 2.1. Olson's patent circuits for a âSystem responsive to the energy flow of sound wavesâ (United States Department of Commerce: Patent and Trademark Office).

Fig. 2.2. Schematic diagram of Olson's field-type wattmeter.2

Fig. 2.3. Olson's uni-directional microphone.2
for development, in the distant future, of a range of two-microphone measurement methods. Twelve years later, Baker6 reported his attempts to use a hot wire anemometer in combination with a pressure microphone to measure sound intensity; unfortunately, the system was far too sensitive to extraneous air movements to be ...
Table of contents
- Cover
- Full Title
- Copyright
- Dedication
- Contents
- Preface to the first edition
- Preface to the second edition
- 1Â Â Introduction
- 2Â Â A brief history of the development of sound intensity measurement
- 3Â Â Sound and sound fields
- 4Â Â Sound energy and sound intensity
- 5Â Â Principles of measurement of sound intensity
- 6Â Â Instrumentation and calibration
- 7Â Â Errors in sound intensity measurement
- 8Â Â Classification and characterisation of sound sources and fields
- 9Â Â Determination of sound power using sound intensity measurement
- 10Â Â Other applications of sound intensity measurement
- 11Â Â Sound intensity in flow ducts
- Appendix: Intensity standards
- Notation
- References
- Index
Frequently asked questions
Yes, you can cancel anytime from the Subscription tab in your account settings on the Perlego website. Your subscription will stay active until the end of your current billing period. Learn how to cancel your subscription
No, books cannot be downloaded as external files, such as PDFs, for use outside of Perlego. However, you can download books within the Perlego app for offline reading on mobile or tablet. Learn how to download books offline
Perlego offers two plans: Essential and Complete
- Essential is ideal for learners and professionals who enjoy exploring a wide range of subjects. Access the Essential Library with 800,000+ trusted titles and best-sellers across business, personal growth, and the humanities. Includes unlimited reading time and Standard Read Aloud voice.
- Complete: Perfect for advanced learners and researchers needing full, unrestricted access. Unlock 1.4M+ books across hundreds of subjects, including academic and specialized titles. The Complete Plan also includes advanced features like Premium Read Aloud and Research Assistant.
We are an online textbook subscription service, where you can get access to an entire online library for less than the price of a single book per month. With over 1 million books across 990+ topics, weâve got you covered! Learn about our mission
Look out for the read-aloud symbol on your next book to see if you can listen to it. The read-aloud tool reads text aloud for you, highlighting the text as it is being read. You can pause it, speed it up and slow it down. Learn more about Read Aloud
Yes! You can use the Perlego app on both iOS and Android devices to read anytime, anywhere â even offline. Perfect for commutes or when youâre on the go.
Please note we cannot support devices running on iOS 13 and Android 7 or earlier. Learn more about using the app
Please note we cannot support devices running on iOS 13 and Android 7 or earlier. Learn more about using the app
Yes, you can access Sound Intensity by Frank Fahy in PDF and/or ePUB format, as well as other popular books in Technik & Maschinenbau & Akustiktechnik. We have over one million books available in our catalogue for you to explore.