
- 520 pages
- English
- ePUB (mobile friendly)
- Available on iOS & Android
eBook - ePub
Introductory Finite Element Method
About this book
Although there are many books on the finite element method (FEM) on the market, very few present its basic formulation in a simple, unified manner. Furthermore, many of the available texts address either only structure-related problems or only fluid or heat-flow problems, and those that explore both do so at an advanced level.
Introductory Finite Element Method examines both structural analysis and flow (heat and fluid) applications in a presentation specifically designed for upper-level undergraduate and beginning graduate students, both within and outside of the engineering disciplines. It includes a chapter on variational calculus, clearly presented to show how the functionals for structural analysis and flow problems are formulated. The authors provide both one- and two-dimensional finite element codes and a wide range of examples and exercises. The exercises include some simpler ones to solve by hand calculation-this allows readers to understand the theory and assimilate the details of the steps in formulating computer implementations of the method.
Anyone interested in learning to solve boundary value problems numerically deserves a straightforward and practical introduction to the powerful FEM. Its clear, simplified presentation and attention to both flow and structural problems make Introductory Finite Element Method the ideal gateway to using the FEM in a variety of applications.
Tools to learn more effectively

Saving Books

Keyword Search

Annotating Text

Listen to it instead
Information
1
Introduction
Basic Concept
In its current form the finite element (FE) method was formalized by civil engineers. The method was proposed and formulated previously in different manifestations by mathematicians and physicists.
The basic concept underlying the finite element method is not new. The principle of discretization is used in most forms of human endeavor. Perhaps the necessity of discretizing, or dividing a thing into smaller manageable things, arises from a fundamental limitation of human beings in that they cannot see or perceive things surrounding them in the universe in their entirety or totality. Even to see things immediately surrounding us, we must make several turns to obtain a jointed mental picture of our surroundings. In other words, we discretize the space around us into small segments, and the final assemblage that we visualize is one that simulates the real continuous surroundings. Usually such jointed views contain an element of error.
In perhaps the first act toward a rational process of discretization, man divided the matter of the universe into five interconnected basic essences (Panchmahabhuta), namely, sky or vacuum, air, water, earth, and fire, and added to them perhaps the most important of all, time, by singing
- Time created beings, sky, earth,
- Time burns the sun and time will bring
- What is to come. Time is the master
- of everything.1*
We conceived the universe to be composed of an innumerable (perhaps finite) number of solar systems, each system composed of its own stars, planets, and galaxies. In our solar system we divided the planet earth into interconnected continents and oceans. The plate of earth we live on is composed of interconnected finite plates.
Figure 1.1
Building column composed of blocks or elements.

When man started counting, the numeral system evolved. To compute the circumference or area of a circle, early thinkers drew polygons of progressively increasing and decreasing size inside and outside the circle, respectively, and found the value of π to a high degree of accuracy. In (civil) engineering we started buildings made of blocks or elements (Figure 1.1).
When engineers surveyed tracts of land, the tract was divided into smaller tracts, and each small tract was surveyed individually (Figure 1.2). The connecting of the individual surveys provided an approximate survey of the entire tract. Depending on the accuracy of the survey performed, a closing error would be involved. In aerial photography a survey of the total area is obtained by matching or patching together a number of photographs.
Figure 1.2
Discretization in surveying and closure error in survey of subdivided plot.

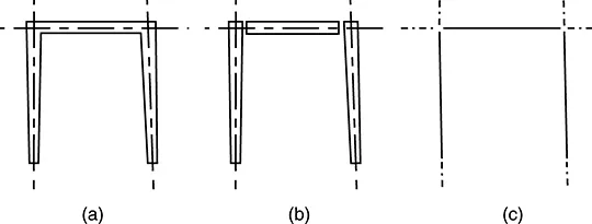
Figure 1.3
Discretization of engineering structure: (a) Actual structure, (b) Discretized structure, and (c) Idealized one-dimensional model.

For stress analysis of modern framed structures in civil engineering classically, methods such as slope deflection and moment distribution were used. The structure was divided into component elements, each component was examined separately, and (stiffness) properties were established (Figure 1.3). The parts were assembled so that the laws of equilibrium and physical condition of continuity at the junctions were enforced.
Although a system or a thing could be discretized in smaller systems, components, or finite elements, we must realize that the original system itself is indeed a whole. Our final aim is to combine the understandings of individual components and obtain an understanding of the wholeness or continuous nature of the system. In a general sense, as the modern scientific thinking recognizes, which the Eastern philosophical and metaphysical concepts had recognized in the past, all systems or things are but parts of the ultimate continuity in the universe!
The foregoing abstract and engineering examples make us aware of the many activities of man that are based on discretization.
Process of Discretization
Discretization implies approximation of the real and the continuous. We use a number of terms to process the scheme of discretization such as subdivision, continuity, compatibility, convergence, upper and lower bounds, stationary potential, minimum residual, and error. As we shall see later, although these terms have specific meanings in engineering applications, their conception has deep roots in man’s thinking. In the following we discuss some of these terms; a number of figures and aspects have been adopted from Russell.2
Subdivision
Zeno argued that space is finite and infinitely divisible and that for things to exist they must have magnitudes. Figure 1.4(a) shows the concept of finite space. If the earth were contained in space, what contained the space in turn?2 Figure 1.4(b) illustrates this idea for the divisibility o...
Table of contents
- Cover Page
- Title Page
- Copyright Page
- Table of Contents
- Preface
- Authors
- 1 Introduction
- 2 Steps in the Finite Element Method
- 3 One-Dimensional Stress Deformation
- 4 One-Dimensional Flow
- 5 One-Dimensional Time Dependent Flow: Introduction to Uncoupled and Coupled Problems
- 6 Finite Element Codes: One- and Two-Dimensional Problems
- 7 Beam Bending and Beam-Column
- 8 One-Dimensional Mass Transport
- 9 One-Dimensional Stress Wave Propagation
- 10 Two- and Three-Dimensional Formulations
- 11 Torsion
- 12 Other Field Problems: Potential, Thermal, Fluid, and Electrical Flow
- 13 Two-Dimensional Stress-Deformation Analysis
- 14 Multicomponent Systems: Building Frame and Foundation
- Appendix 1 Various Numerical Procedures: Solution of Beam Bending Problem
- Appendix 2 Solution of Simultaneous Equations
- Appendix 3 Computer Codes
- Index
Frequently asked questions
Yes, you can cancel anytime from the Subscription tab in your account settings on the Perlego website. Your subscription will stay active until the end of your current billing period. Learn how to cancel your subscription
No, books cannot be downloaded as external files, such as PDFs, for use outside of Perlego. However, you can download books within the Perlego app for offline reading on mobile or tablet. Learn how to download books offline
Perlego offers two plans: Essential and Complete
- Essential is ideal for learners and professionals who enjoy exploring a wide range of subjects. Access the Essential Library with 800,000+ trusted titles and best-sellers across business, personal growth, and the humanities. Includes unlimited reading time and Standard Read Aloud voice.
- Complete: Perfect for advanced learners and researchers needing full, unrestricted access. Unlock 1.4M+ books across hundreds of subjects, including academic and specialized titles. The Complete Plan also includes advanced features like Premium Read Aloud and Research Assistant.
We are an online textbook subscription service, where you can get access to an entire online library for less than the price of a single book per month. With over 1 million books across 990+ topics, we’ve got you covered! Learn about our mission
Look out for the read-aloud symbol on your next book to see if you can listen to it. The read-aloud tool reads text aloud for you, highlighting the text as it is being read. You can pause it, speed it up and slow it down. Learn more about Read Aloud
Yes! You can use the Perlego app on both iOS and Android devices to read anytime, anywhere — even offline. Perfect for commutes or when you’re on the go.
Please note we cannot support devices running on iOS 13 and Android 7 or earlier. Learn more about using the app
Please note we cannot support devices running on iOS 13 and Android 7 or earlier. Learn more about using the app
Yes, you can access Introductory Finite Element Method by Chandrakant S. Desai,Tribikram Kundu in PDF and/or ePUB format, as well as other popular books in Technology & Engineering & Civil Engineering. We have over one million books available in our catalogue for you to explore.