
- 854 pages
- English
- ePUB (mobile friendly)
- Available on iOS & Android
eBook - ePub
Fortran Programs for Chemical Process Design, Analysis, and Simulation
About this book
This book gives engineers the fundamental theories, equations, and computer programs (including source codes) that provide a ready way to analyze and solve a wide range of process engineering problems.
Tools to learn more effectively

Saving Books

Keyword Search

Annotating Text

Listen to it instead
Information
CHAPTER 1
Numerical Computation
INTRODUCTION
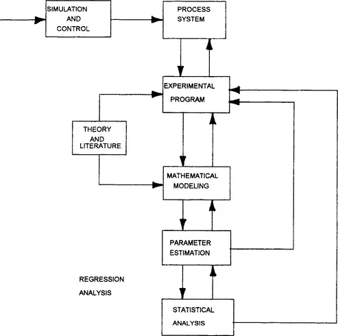
Engineers, technologists, and scientists have employed numerical methods of analysis to solve a wide range of steady and transient problems. The fundamentals are essential in the basic operations of curve fitting, approximation, interpolation, numerical solutions of simultaneous linear and nonlinear equations, numerical differentiation and integration. These requirements are greater when new processes are designed. Engineers also need theoretical information and data from published works to construct mathematical models that simulate new processes. Developing mathematical models with personal computers sometimes involves experimental programs to obtain the required information for the models. Developing an experimental program is strongly dependent on the knowledge of the process with theory, where the whole modification can be produced by some form of mathematical models or regression analyses. Figure 1-1 shows the relationship between mathematical modeling and regression analysis.

Figure 1-1 Mathematical modeling and regression analysis. By permission, A. Constantinides, Applied Numerical Methods With Personal Computers, McGraw-Hill Book Co., 1987. McGraw-Hill
Texts [1–5] with computer programs and sometimes with supplied software are now available for scientists and engineers. They must fit a function or functions to measure data that fluctuate, which result from random error of measurement. If the number of data points equals the order of the polynomial plus one, we can exactly fit a polynomial to the data points. Fitting a function to a set of data requires more data than the order of a polynomial. The accuracy of the fitted curve depends on the large numb...
Table of contents
- Cover image
- Title page
- Table of Contents
- Copyright
- DEDICATION
- Acknowledgments
- Preface
- Chapter 1: Numerical Computation
- Chapter 2: Physical Property of Liquids and Gases
- Chapter 3: Fluid Flow
- Chapter 4: Equipment Sizing
- Chapter 5: Instrument Sizing
- Chapter 6: Compressors
- Chapter 7: Mass Transfer
- Chapter 8: Heat Transfer
- Chapter 9: Engineering Economics
- Chapter 10: The International System of Units (SI) and Conversion Tables
- Bibliography
- Appendix A
- Appendix B
- Appendix C
- Index
Frequently asked questions
Yes, you can cancel anytime from the Subscription tab in your account settings on the Perlego website. Your subscription will stay active until the end of your current billing period. Learn how to cancel your subscription
No, books cannot be downloaded as external files, such as PDFs, for use outside of Perlego. However, you can download books within the Perlego app for offline reading on mobile or tablet. Learn how to download books offline
Perlego offers two plans: Essential and Complete
- Essential is ideal for learners and professionals who enjoy exploring a wide range of subjects. Access the Essential Library with 800,000+ trusted titles and best-sellers across business, personal growth, and the humanities. Includes unlimited reading time and Standard Read Aloud voice.
- Complete: Perfect for advanced learners and researchers needing full, unrestricted access. Unlock 1.4M+ books across hundreds of subjects, including academic and specialized titles. The Complete Plan also includes advanced features like Premium Read Aloud and Research Assistant.
We are an online textbook subscription service, where you can get access to an entire online library for less than the price of a single book per month. With over 1 million books across 990+ topics, we’ve got you covered! Learn about our mission
Look out for the read-aloud symbol on your next book to see if you can listen to it. The read-aloud tool reads text aloud for you, highlighting the text as it is being read. You can pause it, speed it up and slow it down. Learn more about Read Aloud
Yes! You can use the Perlego app on both iOS and Android devices to read anytime, anywhere — even offline. Perfect for commutes or when you’re on the go.
Please note we cannot support devices running on iOS 13 and Android 7 or earlier. Learn more about using the app
Please note we cannot support devices running on iOS 13 and Android 7 or earlier. Learn more about using the app
Yes, you can access Fortran Programs for Chemical Process Design, Analysis, and Simulation by A. Kayode Coker in PDF and/or ePUB format, as well as other popular books in Physical Sciences & Programming Languages. We have over one million books available in our catalogue for you to explore.