
- German
- ePUB (handyfreundlich)
- Über iOS und Android verfügbar
eBook - ePub
Infrarotthermographie
Über dieses Buch
This well established introductory work covers physical basics, principles of operation, computation models and control methods of thermographic systems and their various modern fields of application.
375,005 Studierende vertrauen auf uns
Zugang zu über 1 Million Titeln zu einem fairen monatlichen Preis.
Mit unseren Lerntools kannst du noch effizienter lernen.
Information
1
Technische Besonderheiten der Wärmebildtechnik
Das menschliche Auge nimmt elektromagnetische Strahlung aus einem sehr schmalen Spektralband wahr. Die Reflexion, Transmission und Streuung dieses Strahlungsanteils an den Gegenständen unserer Umwelt gestattet es dem Menschen, Gegenstände zu sehen. Körper mit einer Temperatur T > 900 K emittieren in diesem visuellen Spektralband einen registrierbaren Energieanteil. Die Wärmebildtechnik stellt sich die Aufgabe, die Eigenstrahlung von Gegenständen mit Umgebungstemperatur sichtbar zu machen. Dazu müssen Gerätelösungen entwickelt werden, die Strahlung im Bereich des thermischen Infrarots registrieren, berührungslos arbeiten und die räumliche und energetische Struktur der Objektszene anzeigen. Das ist nur auf elektronischem Umwege möglich, da Speichermedien nach dem Vorbild des fotografischen Films allein durch die Strahlung der Umgebung belichtet würden.
Abb. 1.1: Einordnung der Spektralbereiche der Wärmebildtechnik in das elektromagnetische Spektrum

In Abb. 1.1 ist das elektromagnetische Spektrum und vergrößert die besonders interessierenden Spektralbereiche für die Wärmebildtechnik eingetragen. Die unterschiedlichen Wellenlängen des sichtbaren Bereichs (im Folgenden mit VIS für visuell abgekürzt) werden vom menschlichen Auge als Farben von Violett, Blau über Grün, Gelb, Orange bis Rot empfunden. Das Auge hat sein Empfindlichkeitsmaximum bei 0,55 µm Strahlung dieser Wellenlänge wird als Grün empfunden. Unterhalb von 0,38 µm wird die Strahlung für uiser Auge unsichtbar, der energiereiche ultraviolette Strahlungsbereich (UV) beginnt. Oberhalb von 0,78 (µm schließt sich der infrarote Spektralbereich (TR) an. Die Unterteilung des IR unterliegt einer gewissen Willkür, sie spiegelt aber Grenzen bezüglich der Anwendung und der technischen Lösungsvarianten wider. Der rR-Bereich bis 3 µm soll mit NIR (nahes Infrarot) abgekürzt werden, der Bereich von 3 bis 7 µm mit MIR (mittleres Infrarot) und der Bereich von 7 bis 14 µm mit LIR (langwelliges Infrarot). Der Bereich oberhalb 14 µm (mit FIR als fernes IR abgekürzt) hat für die Wärmebildtechnik nur untergeordnete Bedeutung. MIR und LIR werden auch als thermisches Infrarot bezeichnet.
1.1 Radiometrische Kette
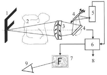
Die Funktion von Wäimebild- oder Thermographiesystemen wird durch die radiometrische Kette in Abb. 1.2 veranschaulicht, deren einzelne Komponenten in den nachfolgenden Kapiteln behandelt werden.
Die Aufklärung der Wirkungsweise von Thermographiesystemen beginnt mit den Strahlungsgesetzen der Objektszene. Diese setzt sich zusammen aus dem zu erkennenden oder zu vermessenden Objekt und dem Hintergrund. Die von Objekt und Hintergrund ausgesandte Strahlung durchdringt die Atmosphäre und wird von der IR-Optik auf den IR-Empfänger fokussiert. Da es für die Thermographie keine dem fotografischen Film adäquaten Empfängermaterialien gibt, wird die Objektszene in einzelne Pixel zerlegt, die zeitlich nacheinander abgetastet und in einer Signalfolge verschlüsselt werden.
Hauptfunktion der Signalverarbeitung ist die Rekonstruktion der Objektszene. Diese wird meist auf einem Monitor zur Anzeige gebracht und kann elektronisch gespeichert und bearbeitet werden. Die Funktionsauslösung kommt in Überwachungssystemen zum Einsatz. Am Ende der Kette steht der Beobachter. Ihm obliegt es, die erhaltenen Informationen zu deuten und angemessen zu reagieren.
Nach dem Schema in Abb. 1.2 kann die Eigenstrahlung von Gegenständen zur Anzeige gebracht werden. Zusätzliche Lichtquellen werden nicht benötigt. Da jeder Gegenstand Eigenstrahlung aussendet, erlaubt diese Technik den Bau passiver Nachtsichtgeräte. Ohne Lichtquellen werden Gegenstände aufgrund ihrer Eigenstrahlung sichtbar. Diese militärisch sehr interessante Möglichkeit hat in den letzten 25 Jahren zu einer rasanten Entwicklung der Wärmcbildtechnik geführt. Quasi nebenbei wird die verbesserte Sicht im IR bei Nebel genutzt.
Abb. 1.2: Radiometrische Kette
1 Objekt mit Hintergrund, 2 Atmosphäre, 3 sammelnde IR-Optik, 4 optomechanisches Abtastsystem, 5 IR-Empfänger, 6 Signalverarbeitung, 7 Anzeigeeinheit, 8 Funktionsauslösung, 9 Beobachter, 10 Koordinatensystem
1 Objekt mit Hintergrund, 2 Atmosphäre, 3 sammelnde IR-Optik, 4 optomechanisches Abtastsystem, 5 IR-Empfänger, 6 Signalverarbeitung, 7 Anzeigeeinheit, 8 Funktionsauslösung, 9 Beobachter, 10 Koordinatensystem

Zivile Anwendungen wie das Anzeigen von Temperaturfeldern und Strahlungsverteilungen profitieren von der IR-Empfängerentwicklung. Sie haben heute einen festen Platz als zusätzliche Diagnoseverfahren in Industrie, Bauwesen und Medizin gefunden.
1.2 Prinzipien der räumlichen Abtastung
Die Zerlegung der Objektszene in eine Folge zeitlich nacheinander abgetasteter Pixel ist in jedem Camcorder realisiert. Die Objektszene wird vom Objektiv auf eine Empfängermatrix, dem so genannten Focal Plane Array FPA, abgebildet. In jedem Pixel werden Ladungen gesammelt und in einem vorgegebenen Takt nacheinander ausgelesen. Befriedigende Thermographie-Ergebnisse werden auf diesem Wege erst durch die jüngsten IR-FPA-Entwicklungen möglich, deren Herstellung immer noch teuer ist.
Die ersten hochauflösenden Wärmebildsysteme arbeiten mit einem gekühlten Einelement-IR-Empfänger und einem optomechanischen Abtastsystem, welches den Empfängerchip über die Objektszene projiziert. Dieses Prinzip ist in Abb. 1.2 dargestellt.
In Tab. 1.1 sind die wichtigsten, heute zur Anwendung kommenden Kombinationen von Empfängerstruktur und Abtastsystem zusammengestellt. Zwischen den beiden Extremen Einelementerrpfänger und formatfüllende Matrix erlangen eine Reihe von Kombinationen technische Bedeutung. Sie legen verschiedene Gerätekonzepte fest, deren praktische Umsetzung vom Preis und Anwendungszweck bestimmt ist.
Einelementgeräte zeichnen sich durch eine hohe Gleichmäßigkeit der einzelnen Bildpixel aus. Begrenzend auf die Anzahl der pro Zeiteinheit abgetasteten Bildpixel wirkt der Schwingspiegel, der eine oszillierende Bewegung aüsfuhren muss.
Formatfüllende Zeilen erlauben kostengünstige Lösungen bei Überwachungsaufgaben, wobei die Relativbewegung zwischen Kamera und Objektszene vom Prozess vorgegeben und mit der Bildaufnahme gekoppelt ist.
Tab. 1.1: Moderne Abtastprinzipien der Wärmebildtechnik

Schnelldrehende Spiegelpolygone mit unterschiedlich geneigten Facetten führen eine gleichförmige Drehbewegung aus und tasten bei einer Polygonumdrehung die Objektszene vollständig ab. Die Polygondrehung realisiert die Abtastung entlang der Zeilen, die unterschiedliche Facettenneigung die Abtastung des Bildes (vgl. Kap. 5.4.3). Die Pixelzahl der dazugehörigen IR-Empfänger-Arrays ist dem Polygon angepasst: Das Produkt aus Facettenzahl und Zeilenzahl des Arrays ist gleich der Zeilenzahl des IR-Bildes, die Pixelzahl in der IR-Bild-Zeile ist ein ganzzahliges Vielfaches der Pixelzahl der Empfänger-Array-Zeile. Diese auch als Mikro-Scan-Systeme bezeichneten Kombinationen erlauben die Minimierung der Rauschbandbreite.
Pyroelektrische Vidikons sind die ältesten bildauflösenden IR-Empfänger: Das klassische Vidikonprinzip mit Elektronenstrahlabtastung der abgebildeten Objektszene wird durch Verwendung spezieller Empfängermaterialien für den thermischen IR-Strahlungsbereich sensibilisiert. Nachteil dieser Lösung ist die schlechte thermische und räumliche Auflösung.
Formatfüllende IR-Matrizen kommen ohne mechanisch bewegte Teile aus. Die Gleichmäßigkeit der Empfängerpixel, ihre schnelle Auslesung und ihre Kalibrierung muss im Herstellprozess berücksichtigt werden.
Die klassische Halbleitertechnik ist nicht für die Empfängerpixel einsetzbar, da die Halbleitermateralien Ge, Si und GaAs im thermischen IR transparent sind und als Linsenmaterialien eingesetzt werden.
1.3 Historische Fakten zur Thermographie
Im Jahre 1800 entdeckt William Herschel Wärmestrahlung, die für das menschliche Auge nicht sichtbar ist. Er lässt Sonnenlicht durch ein Dispersionsprisma fallen und weist die Strahlung jenseits des sichtbaren roten Lichtes mit einem Thermometer nach. Diese infrarote Strahlung gehorcht den gleichen physikalischen Gesetzen wie sichtbares Licht.
1830 entdeckt Nobili die ersten Thermoelemente, 1833 schaltet Melloni diese in Reihe und realisiert die erste Thermosäule. Mit diesen kann die IR-Strahlung in ein elektrisches Signal gewandelt werden.
1880 wird erstmals die Änderung des elektrischen Widerstandes mit der Temperatur zur Detektion infraroter Strahlung benutzt. Mit der Anordnung dieser Thermistoren als Brückenschaltung ist das erste Bolometer realisiert.
Zwischen 1870 und 1920 erlaubt der technische Fortschritt die Herstellung der ersten Quantendetektoren. Ihr völlig neues Wirkprinzip kommt ohne die Umsetzung der Strahlung in eine Temperaturänderung aus und führt zu um Größenordnungen höheren Empfindlichkeiten und kürzeren Reaktionszeiten. Ihr Empfindlichkeitsbereich endet im NIR. Als erstes Wärmebildgerät kann der in den 20er Jahren entwickelte Evapograph gelten. Genutzt wird der schon von Herschel entdeckte temperaturabhängige Niederschlag von organischen Dämpfen auf einer Membran. Die thermische Szene wird auf die Membran abgebildet, deren Strahlungsabsorption mittels spezieller Schwärzungsschichten maximiert ist. Hinter der Membran wird in einer speziellen Zelle durch gezielte Temperierung und Druckeinstellung der sichtbare Dampfniederschlag optimiert. Bei Belichtungszeiten von 30 s können Temperaturauflösungen bis 1 K erreicht werden (Kriksunov, Padalko 1987). Militärische Anwendung findet der von 1930 von Gudden, Görlich und Kutscher in Deutschland entwickelte PbS-Quantenempfänger. Sein Empfindlichkeitsbereich von 1,5…3 µm verlängert den Sichtbereich von Peilgeräten. Mit InSb-Quantenempfängem (Empfindlichkeitsbereich von 3…5 µm) wird die Reichweite deutscher Peilgeräte im II. Weltkrieg bis zu 30 km für Schiffe und 7 km für Panzer gesteigert Die dazu notwendigen Optiken liefert Carl Zeiss Jena, wo ab 1940 das bis ins LIR durchlässige Linsenmaterial KRS-5 als Kristall aus der Schmelze gezogen wird.
Die weitere Entwicklung der Quantenempfänger wird durch Militäranwendungen vorangetrieben: Mitte der 50er Jahre werden die ersten selbstlenkenden Raketen mit IR-Zielsuchköpfen in Dienst gestellt.
Die thermischen Detektoren bleiben vorrangig der zivilen Nutzung vorbehalten: Im Jahre 1954 werden bildgebende Kameras auf Thermosäulenbasis (20 min Belichtungszeit pro Bild) und auf Bolometerbasis (4 min Belichtungszeit pro Bild) vorgestellt.
1960 wird der Halbleiter HgCdTe als Empfängerwerkstoff vorgeschlagen: Mit ihm kann der LIRBereich schnell und empfindlich aufgelöst werden.
1964 stellt die schwedische Firma AGA ihr Thermographiesystem 660 vor. Es ist 40 kg schwer, benutzt einen optomechanischen Scanner mit gekühltem InSb-Einelementsensor und benötigt 1/16 s für den Aufbau eines Bildes. Parallel dazu werden die ersten FLIR (Forward Looking Infra- Red)-Systeme auf Kampfflugzeugen installiert: Mit gekühlten InSb- und Ge: Hg- Einelementempfängern und optomechanischen Scannern wird die thermische Eigenstrahlung von weit entfernten Objekten sichtbar gemacht.
Mitte der 70er Jahre gelingt es, Vidikons durch Aufbringen pyroelektrischer Empfängermaterialien bis in den LIR-Bereich zu sensibilisieren. Diese „Pyrikons“ mit ihrer unmittelbaren Anbindung an die Fernsehtechnik liefern Echtzeitbilder mit einer thermischen Auflösung von 1 K. Die Fernsehtechnik hält Einzug in die Konzipierung von Wärmebildgeräten.
In den 80er Jahren profitieren die kommerziellen Thermokameras von den Fortschritten der Quantenempfängerentwicklung: Mit der Beherrschung der HgTeCd-Technologie kann das LIRGebiet genutzt werden. 1986 stellt AGEMA das Thermographiesystem 870 mit einem Sprite- Empfänger vor, dessen Funktion mit der einer Empfängerzeile vergleichbar ist.
Anfang der 90er Jahren entdecken viele Hersteller den zivilen Markt: Mit Flüssigstickstoff gekühlte Einelementempfänger-Systeme erreichen die besten Auflösung, Software-Pakete erleichtem die Speicherung und Interpretation der Thermogramme. Die Errungenschaften der Computertechnik werden integriert.
Seit 2000 drängen thermische Empfängerarrays auf den Markt, die keine Kühlung und keine optomechanische Abtastung benötigen und für viele kommerzielle Anwendungen eine sinnvolle thermische und räumliche Auflösung bieten. Zusätzlich werden Systemlösungen mit gekühlten FPA, die früher ausschließlich der militärischen Nutzung vorbehalten waren, für zivile Anwendungen bereitgestellt (Thermosensorik 2001).
Die Empfängerentwicklung führt zur Unterscheidung von drei Generationen von Wärmebildgeräten (Kürbitz 1997): Mit der ersten Generation werden Echtzeitbilder realisiert, wobei die geometrische Auflösung und die Bildhomogenität im Vergleich zu normalen Fernsehbildern Wünsche offen lassen. Die Temperaturauflösung dieser durchweg scannenden Systeme erreicht 0,2 K. Wärmebildgeräte der zweiten Generation kommen der Fernsehqualität nahe und verwenden thermische Referenzen, um die Nichtuniformität des Bildes zu korrigieren. Die thermische Auflösung liegt unter 0,1 K. Wärmebildgeräte der dritten Generation arbeiten mit großen Empfängerarrays, die ohne oder höchstens mit kleinen optomechanischen Scanbewegungen (sog. MikroScans) auskommen. Fernsehqualität soll bei einer Temperaturauflösung unter 0,05 IC erreicht werden.
2
Mathematische Grundlagen zur Beschreibung der Signalverarbeitung
Die Prinzipdarstellung zur Funktion von Wärmebildsystemen in Abb. 1.2 enthält in der Objektszene zwei Signalarten: die determinierte Objektstruktur mit einer bestimmten Temperatur und das durch statistische Größen beschreibbare Hintergrundrauschen. Zur Vereinfachung wird im Folgenden immer vorausgesetzt, dass das Wärmebildgerät eine thermische Szene sichtbar macht, in der die Strahlungsverteilung zeitlich konstant angenommen wird. Die energetischen Größen des Objektes fopt(x, y) sind damit eine Funktion des Ortes, wobei x und y ein rechtwinkliges Koordinatensystem in der Objektszene aufspannen. Die dazu senkrecht stehende z-Achse kennzeichnet den Abstand der Objektszene vom Thermographiesystem.
Die Abtastverfahren aus Tab. 1.1 zerlegen die Objektszene in eine zeitliche Folge elektrischer Größen fel(t). Ihr Verhalten über der Zeit t bestimmt letztendlich die Qualität des Thermographiesystems. Dem determinierten Signal sind ein thermisches und elektrisches Rauschen überlagert, welche durch statistische Größen beschrieben werden müssen.
2.1 Frequenzanalyse determinierter Signale
Die Signalwandlung entlang der radiometrischen Kette verlangt eine einfache Beschreibung der Beeinflussung durch die einzelnen Komponenten. Die lineare Filtertheorie (Kreß, Irmer 1990) bietet dazu einen zweckmäßigen Ansatz. Die Einwirkung der einzelnen Komponenten wir...
Inhaltsverzeichnis
- Cover
- Title page
- copyright
- Vorwort
- 1: Technische Besonderheiten der Wärmebildtechnik
- 2: Mathematische Grundlagen zur Beschreibung der Signalverarbeitung
- 3: Eigenstrahlung von Objekt und Hintergrund
- 4: Atmosphärische Transmission
- 5: Optische Systeme
- 6: Infrarotstrahlungsempfänger
- 7: Signalverarbeitung
- 8: Anzeigeeinheiten
- 9: Gesetze der visuellen Wahrnehmung
- 10: Bewertungskriterien für Wärmebildsysteme
- 11: Prüfung von Wärmebildsystemen
- 12: Anwendungen
- 13: Entwicklungstendenzen
- Verwendete Formelzeichen
- Literaturverzeichnis
- Index
Häufig gestellte Fragen
Ja, du kannst dein Abo jederzeit über den Tab Abo in deinen Kontoeinstellungen auf der Perlego-Website kündigen. Dein Abo bleibt bis zum Ende deines aktuellen Abrechnungszeitraums aktiv. Erfahre, wie du dein Abo kündigen kannst
Nein, Bücher können nicht als externe Dateien, z. B. PDFs, zur Verwendung außerhalb von Perlego heruntergeladen werden. Du kannst jedoch Bücher in der Perlego-App herunterladen, um sie offline auf deinem Smartphone oder Tablet zu lesen. Erfahre, wie du Bücher herunterladen kannst, um sie offline zu lesen
Perlego bietet zwei Abopläne an: Elementar und Erweitert
- Elementar ist ideal für Lernende und Profis, die sich mit einer Vielzahl von Themen beschäftigen möchten. Erhalte Zugang zur Basic-Bibliothek mit über 800.000 vertrauenswürdigen Titeln und Bestsellern in den Bereichen Wirtschaft, persönliche Weiterentwicklung und Geisteswissenschaften. Enthält unbegrenzte Lesezeit und die Standardstimme für die Funktion „Vorlesen“.
- Pro: Perfekt für fortgeschrittene Lernende und Forscher, die einen vollständigen, uneingeschränkten Zugang benötigen. Schalte über 1,4 Millionen Bücher zu Hunderten von Themen frei, darunter akademische und hochspezialisierte Titel. Das Pro-Abo umfasst auch erweiterte Funktionen wie Premium-Vorlesen und den Recherche-Assistenten.
Wir sind ein Online-Lehrbuch-Abo, bei dem du für weniger als den Preis eines einzelnen Buches pro Monat Zugang zu einer ganzen Online-Bibliothek erhältst. Mit über 1 Million Büchern zu über 990 verschiedenen Themen haben wir bestimmt alles, was du brauchst! Erfahre mehr über unsere Mission
Achte auf das Symbol zum Vorlesen bei deinem nächsten Buch, um zu sehen, ob du es dir auch anhören kannst. Bei diesem Tool wird dir Text laut vorgelesen, wobei der Text beim Vorlesen auch grafisch hervorgehoben wird. Du kannst das Vorlesen jederzeit anhalten, beschleunigen und verlangsamen. Erfahre mehr über die Funktion „Vorlesen“
Ja! Du kannst die Perlego-App sowohl auf iOS- als auch auf Android-Geräten nutzen, damit du jederzeit und überall lesen kannst – sogar offline. Perfekt für den Weg zur Arbeit oder wenn du unterwegs bist.
Bitte beachte, dass wir Geräte, auf denen die Betriebssysteme iOS 13 und Android 7 oder noch ältere Versionen ausgeführt werden, nicht unterstützen können. Mehr über die Verwendung der App erfahren
Bitte beachte, dass wir Geräte, auf denen die Betriebssysteme iOS 13 und Android 7 oder noch ältere Versionen ausgeführt werden, nicht unterstützen können. Mehr über die Verwendung der App erfahren
Ja, du hast Zugang zu Infrarotthermographie von Norbert Schuster,Valentin G. Kolobrodov im PDF- und/oder ePub-Format sowie zu anderen beliebten Büchern aus Physical Sciences & Optics & Light. Aus unserem Katalog stehen dir über 1 Million Bücher zur Verfügung.